在线询价
首页 > 产品展示
UQK系列浮球液位控制器 价格:

在线询价
详细内容

概述

UQK系列浮球液位控制器适用于工业生产过程 中的各种敞口或受压容器的液位控制。当液位上 升至高限时或下降至低限时,控制器开关动作并 发出控制报警信号或控制泵.阀的开闭。

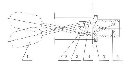
结构原理

浮球液位控制器由两个互不相通的测量部分 和输出部分组成。当被测液位发生变化时.浮球 随之升降.从而使端部磁钢上.下摆动。根据磁 钢同性相斥原理,使安装在壳内的磁钢反向摆动, 动触点在静触头1-1与2-2间接通或断开。

636778954065052120.jpg

主要技术参数

工作压力: 4.0MPa标准型; 6.4MPa特殊型。

工作度:-40⑺15CTC •介质密度: >0.65g/cm3 .触点容量:220VAC/DC150W。

-材质:接液部分1Cr18Ni9Ti防爆壳ZL102油漆喷涂。 -连接法兰:采用化工HG20592⑺20635, -97法 兰标准PN按所选压力等级。

UQK-01DN80

UQK-02DN80

UQK-03DN80(用户自配大小头法兰)

UQK-04DN40

注:UQKST系列对应于UQK系列 -出线口:M20x1 .5(内螺纹)

防爆标志:隔爆型:ExdIiBT4 本安型:ExibIlCT4

636778954389081004.jpg

型号规格

636778954591313393.jpg

636778954819456873.jpg

使用须知

-安装时注意螺栓孔方位.且用户配凹面法兰。

•接线应采用外径10mm五芯橡皮套软线或橡皮电 缆.其中一芯为内接地线。另四芯供一对常开 常闭触点连线。所有接线端子均应接触良好. 出线螺帽,要妥善压紧,以防引线松脱。

•各防爆结合面.不准有划痕.碰伤.并不可涂 油漆.但允许涂少量润滑油或防锈油脂。

•操作时应严格遵守防爆电气设备使用规程.确 保安全。

•被测介质液面的波动频率不能太大和不应含有 导磁杂质。

•为了使控制器更具有可靠性,安全性和实用

性控制信号可通过UD-1转换放大器驱动JTX型小 型通用大功率继电器触点动作.从而实现液位的 电气控制和连锁。(本公司可提供有关产品)

•订货须知(订货时请提供下列数据)

_控制器型号规格 -工作压力 -工作温度 -防爆要求

-需配储罐上的凹面法兰请在订货时注明



Copyright  ©  2023- 安徽晖伦仪表有限公司   All Rights Reserved.   备案号:皖ICP备19022284号-1 腾云建站仅向商家提供技术服务